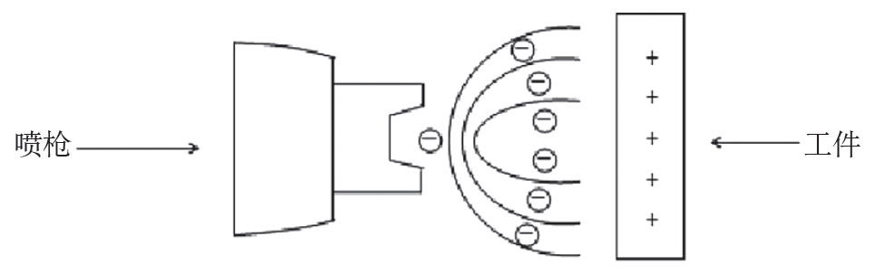
¾²µçÅçÍ¿ÔÀí¼°×é³É
¾²µçÅçÆáÒÔ¹¤¼þΪÕýµç¼«£¬Í¨³£Çé¿öϽӵؼ´¿É£»ÆáÁÏÎí»¯×°ÖÃΪ¸ºµç¼«£¬½ÓµçÔ´¸º¸ßѹ£¬Ó빤¼þÖ®¼äÐγÉÒ»¸ö¸ßѹ¾²µç³¡¡£ÆáÁÏÔÚѹËõ¿ÕÆøÑ¹Á¦×÷ÓÃϸßËÙ¼·ÈëÅç×ìÖУ¬×²»÷ÔÚÅç×ìÉÏ£¬·´µ¯ºóÐγÉ΢Ã×¼¶Îí»¯¿ÅÁ££¬Í¨¹ýÅç×ìÔ²Ðγö¿ÚÐγɾùÔÈÅçÎí£¬ÓÉÓÚµçÔηŵç×÷Óã¬Ê¹Åç×ìÅç³öµÄÆáÁÏ´ø¸ºµç£¬¸ù¾Ý“ͬÐÔÏà³â”ÔÀí£¬ÆáÁÏÁ£×ÓÏ໥Åų⣬½øÒ»²½Îí»¯£»¸ù¾Ý“ÒìÐÔÏàÎü”ÔÀí£¬´ø¸ºµçºÉµÄÆáÁϽéÖÊÔڵ糡Á¦µÄ×÷ÓÃ϶Թ¤¼þÐγɻ·±§Ð§¹û£¬ÑصçÁ¦Ïß¶¨ÏòµØÁ÷Ïò´øÕýµçºÉµÄ¹¤¼þ±íÃæ£¬¶Ñ»ý³ÉÒ»²ã¾ùÔÈ¡¢¸½×ÅÀι̵ı¡Ä¤£¬¾¹ý¸ÉÔïºóÐÎ³ÉÆáĤ¡£

Éú²úÏÖ³¡Ê¹Óõľ²µçÅçÍ¿É豸ÓÉÎÞÆøÅçÍ¿É豸£¨±ÃÌ壩ºÍ»ìÆø¾²µçÅçǹ×é³É¡£±ÃÌåÓë¾²µçÅçǹµÄ×°Åä½á¹¹ÈçÏ¡£

ÅçÍ¿ÖÊÁ¿Ó°ÏìÒòËØ
´Ó²úÆ·ÖÊÁ¿ÁùÒòËØ---ÈË¡¢»ú¡¢ÁÏ¡¢·¨¡¢»·¡¢²âµÄÓ°Ïì¾²µçÅçÍ¿ÖÊÁ¿µÄÒòËØ½øÐзÖÎö£¬È·ÈÏÁËÒÔÏÂ5¸öÄ©¶ËÒòËØ¡£

ÒÔÏÂÔÒò·ÖÎö£¬¾ùÒÔij´óÐÍÕû»úÅçÆáÏÖ³¡ÎªÀý¡£
2.1 Ô±¹¤²Ù×÷¼¼ÄÜÒòËØ
¶ÔÉú²úÏÖ³¡ÅçÆá²Ù×÷ÈËÔ±µÄ²Ù×÷ºÏ¸ñÖ¤¼°´ÓÒµÄêÏÞ½øÐÐͳ¼Æ·ÖÎö£¬ÈËÔ±¾ù°´ÒªÇó²Î¼ÓÁËÅàѵÖÐÐÄ×éÖ¯µÄÅàѵºÍ¿¼ÊÔ£¬²¢È¡µÃÁ˲Ù×÷ºÏ¸ñÖ¤£¬ÇÒ´ÓÒµÄêÏÞ¾ùÔÚ8ÄêÒÔÉÏ£¬¾ßÓзḻµÄÅçÍ¿¾Ñé¡£¶ÔÅçÍ¿²»¾ùÔȹÊÕϵķ´À¡½øÐзÖÎö£¬ÈÏΪ¹ÊÕÏÓë²Ù×÷ÈËÔ±ÎÞÃ÷ÏÔ¶ÔÓ¦¹ØÏµ¡£¹ÊÕϲÙ×÷Õß¼¼Äܲ»×ã²»ÊÇÖ÷ÒªÒòËØ¡£
2.2 Ô²ÄÁÏÆ·ÖÊÒòËØ
ÓÍÆá¡¢Ï¡ÊͼÁ¡¢¹Ì»¯¼ÁÔÚʹÓÃǰ¾ù¾¹ýÁË»¯Ñ飬ºÏ¸ñºó²ÅʹÓá£ÅçÍ¿¹ý³ÌÖÐûÓгöÏÖ´óÃæ»ýÍ¿ÁÏÅçÍ¿²»¾ùÔȹÊÕÏ£¬Òò´ËÈÏΪ£¬ÓÉÓÚÓÍÆá¡¢¹Ì»¯¼Á¡¢Ï¡ÊͼÁµÈÔ²ÄÁϲ»ºÏ¸ñ¶øµ¼ÖÂÆáÁÏÅçÍ¿²»¾ùÔȵĿÉÄÜÐÔ½ÏС¡£
2.3 ѹËõ¿ÕÆøÑ¹Á¦·ÖÎö
ÅçͿѹËõ¿ÕÆøÑ¹Á¦²»×ãÒ×ʹÆáÁÏÎí»¯²»×ã»òÆáÁÏÅçÍ¿¶¯Á¦²»×㣬´Ó¶øµ¼ÖÂÅçÍ¿²»¾ùÔÈ¡£Éú²úÏÖ³¡Ò»°ãÒªÇóÅçǹѹÁ¦Îª0.35~0.5MPa£¬¾²µçÅçǹ±ÃÌåÒDZíÉÏÓо²µçÅçǹѹËõ¿ÕÆøµÄѹÁ¦Ö¸Ê¾Æ÷£¬¿ÉËæÊ±¼à¿ØÑ¹Ëõ¿ÕÆøµÄѹÁ¦Öµ¡£ÏÖ³¡·´À¡£¬Î´ÔÚѹËõ¿ÕÆøÑ¹Á¦²»×ãʱ½øÐÐÅçÍ¿×÷Òµ£¬¹ÊÅçͿѹËõ¿ÕÆø²»×ã²»ÊÇÖ÷ÒªÒòËØ¡£
2.4 Åçǹ»·¾³ÎÂʪ¶ÈµÄÓ°Ïì·ÖÎö
ÅçÆáʱ£¬»·¾³ÎÂʪ¶È¶ÔÅçÆáÖÊÁ¿ÓÐÓ°Ïì¡£Èç¹ûÊ©¹¤³¡µØÏà¶Ôʪ¶ÈÌ«¸ß£¬³¬¹ý80%»ò´ïµ½±¥ºÍ³Ì¶È£¬ÓÉÓÚ½ðÊô±íÃæÎü¸½Ë®ÆøµÄ×÷Ó㬻áʹÅçÍ¿±íÃæ¸½×ÅÒ»²ã¼«±¡µÄÈâÑÛÄѼûµÄˮĻ£¬´Ó¶øÓ°ÏìÆáÁϳÉĤÖÊÁ¿¡£Òò´Ë¹æ¶¨Ê©¹¤³¡µØÒÔζÈ18~25¡æ¡¢Ïà¶Ôʪ¶È45%~65%ΪÒË£¬»·¾³Î¶Ȳ»µÃ³¬³ö12~30¡æµÄ·¶Î§£¬Ïà¶Ôʪ¶È²»µÃ³¬¹ý80%¡£²éÔÄÏÖ³¡ÎÂʪ¶È¼Ç¼±í¼°¹¤×÷¼Ç¼£¬Î´ÔÚÎÂʪ¶È²»·ûºÏÒªÇóʱ×÷Òµ£¬¹ÊÅçÍ¿»·¾³ÎÂʪ¶ÈµÄÓ°Ïì²»ÊÇÖ÷ÒªÔÒò¡£
¾²µçÅçǹ²»Âú×ãÒªÇó·ÖÎö¼°½â¾ö·½°¸£¬Òòƪ·ù²»×㣬ÏÂÖܽ«¼ÌÐøÎª´ó¼Ò½²½â£¬¾´ÇëÆÚ´ý£¡
¸ÃÎÄÕÂÕª×ÔÓÚÁèÔÆ¿Æ¼¼£¬ÈçÇÖȨ£¬Çë¸æÖªÉ¾³ý£¡